Model F Technical Manual Project
- darkcruix
- Location: Germany
- Main keyboard: Brand New Model F F77 Keyboard
- Main mouse: Logitech MX Master
- Favorite switch: Ellipse version of Buckling Spring / BeamSpring
- DT Pro Member: 0209
Check https://www.bucklingspring.com from time to time. I don't have any automated notification in place, unfortunately.
- darkcruix
- Location: Germany
- Main keyboard: Brand New Model F F77 Keyboard
- Main mouse: Logitech MX Master
- Favorite switch: Ellipse version of Buckling Spring / BeamSpring
- DT Pro Member: 0209
Uploaded the latest version 0.5.17 of the Technical Reference for Model F at:
https://www.bucklingspring.com/technica ... downloads/
Version 0.5.17 contains
Additions in section 4 for: Solenoid and Beeper
Additions in the Appendix: Keycap Font
Some minor corrections
We have now over 200 pages ...
https://www.bucklingspring.com/technica ... downloads/
Version 0.5.17 contains
Additions in section 4 for: Solenoid and Beeper
Additions in the Appendix: Keycap Font
Some minor corrections
We have now over 200 pages ...
- darkcruix
- Location: Germany
- Main keyboard: Brand New Model F F77 Keyboard
- Main mouse: Logitech MX Master
- Favorite switch: Ellipse version of Buckling Spring / BeamSpring
- DT Pro Member: 0209
I have a relatively tight setting on the access rights. Can you give me your public IP (e.g. navigate to whatsmyip.com) and PM me your IP. I can then update the configuration.shampoo wrote: 16 Nov 2020, 13:38 Hi
I am trying to download it, but I am getting the following error:
Screen Shot 2020-11-16 at 7.38.23 AM.png
Thanks
J
-
OxC0FFEE
- Location: United States
- Main keyboard: YAS-62 x TINA x MDA Big Bone
- Main mouse: 2015 15-inch MacBook Pro trackpad
- Favorite switch: Buckling springs, baby.
- DT Pro Member: -
@darkcruix, regarding the font, is it a derivative of Gorton as many keyboard manufacturers used, or a bespoke font? If the latter, do you have it available?
- darkcruix
- Location: Germany
- Main keyboard: Brand New Model F F77 Keyboard
- Main mouse: Logitech MX Master
- Favorite switch: Ellipse version of Buckling Spring / BeamSpring
- DT Pro Member: 0209
Neither, as far as I was informed. Zed has done some research on it - let me quote him:OxC0FFEE wrote: 18 Nov 2020, 18:39 @darkcruix, regarding the font, is it a derivative of Gorton as many keyboard manufacturers used, or a bespoke font? If the latter, do you have it available?
Zed has hand-drawn the font and icons according the original keys and they look fabulous.The 'tail' or 'leg' on the 'R' is the dead giveaway for Helvetica. The curve at the end is completely out of character to the rest of the font. The F font certainly looks like it was derived from Helvetica with some interesting differences.
Characters are uniform height and stroke thickness. This is why the round characters 'O', 'S' etc. appear to be slightly shorter than their neighbors. Typefaces compensate for this optical effect by making those characters slightly taller. The vertical and horizontal line thickness is usually varied as well for similar reasons. IBM did not do either. I assume they were planning for additional characters to be added and placed the alphas upper left justified to create a grid where the other quadrants could be used. Perhaps uniform letter height was considered a better option when multiple characters might be sharing the same key but I don't know for sure. It may be as simple as the artist didn't know any better or it was decided that this wasn't like typesetting a book so the font didn't have to follow the traditional rules.
The small text for the modifiers, F row, etc. was probably done using a Keuffel & Esser 'Leroy' lettering set. IBM used a slightly different font (not Helvetica or a derivative) for their templates than ones I have seen in the catalogs but K&E did all sorts of custom templates and the artwork has all the hallmarks of a pantograph drawn character.
- darkcruix
- Location: Germany
- Main keyboard: Brand New Model F F77 Keyboard
- Main mouse: Logitech MX Master
- Favorite switch: Ellipse version of Buckling Spring / BeamSpring
- DT Pro Member: 0209
I have uploaded another version today with the full key cap set in the Appendix as well as additions to the Section 4. Overall we are at 241 pages now.
As always, the download is available from:
https://www.bucklingspring.com
in the "Download Section"
As always, the download is available from:
https://www.bucklingspring.com
in the "Download Section"
- darkcruix
- Location: Germany
- Main keyboard: Brand New Model F F77 Keyboard
- Main mouse: Logitech MX Master
- Favorite switch: Ellipse version of Buckling Spring / BeamSpring
- DT Pro Member: 0209
After 6 weeks I found time for an update ... hopefully work is not interfering so much with my little project here.
Overall we are at 245 pages now.
The updates I made are around the Solenoid and a few pages about the Keycap Legend Font while I created some comparison figures with Helvetica etc. I only have a few open ends on the hardware portion, so my plans are to jump very soon into the firmware section. I don't want to re-create a QMK or Xwhatsit handbook, but referencing external information in a book is not optimal. I try to find the balance to give the right start into the possibilities.
Download the latest version (0.5.19) from here:
https://www.bucklingspring.com/technica ... ownloads/
Overall we are at 245 pages now.
The updates I made are around the Solenoid and a few pages about the Keycap Legend Font while I created some comparison figures with Helvetica etc. I only have a few open ends on the hardware portion, so my plans are to jump very soon into the firmware section. I don't want to re-create a QMK or Xwhatsit handbook, but referencing external information in a book is not optimal. I try to find the balance to give the right start into the possibilities.
Download the latest version (0.5.19) from here:
https://www.bucklingspring.com/technica ... ownloads/
- darkcruix
- Location: Germany
- Main keyboard: Brand New Model F F77 Keyboard
- Main mouse: Logitech MX Master
- Favorite switch: Ellipse version of Buckling Spring / BeamSpring
- DT Pro Member: 0209
Added another 10 new pages around Cleaning and Lock Lights in version 0.5.20.
I spent some time in getting the Layer indication via LED implemented in QMK with some nice outcome (IMHO).
Download the latest version (0.5.20) from here:
https://www.bucklingspring.com/technica ... downloads/
I spent some time in getting the Layer indication via LED implemented in QMK with some nice outcome (IMHO).
Download the latest version (0.5.20) from here:
https://www.bucklingspring.com/technica ... downloads/
- darkcruix
- Location: Germany
- Main keyboard: Brand New Model F F77 Keyboard
- Main mouse: Logitech MX Master
- Favorite switch: Ellipse version of Buckling Spring / BeamSpring
- DT Pro Member: 0209
Added more info around cleaning and more about Lock Lights in version 0.5.21.
I also showed the first iteration of the LED breakout board to the documentation: Download the latest version (0.5.21) from here:
https://www.bucklingspring.com/technica ... downloads/
I also showed the first iteration of the LED breakout board to the documentation: Download the latest version (0.5.21) from here:
https://www.bucklingspring.com/technica ... downloads/
- Bjerrk
- Location: Copenhagen, Denmark
- Main keyboard: Cherry G80-1800 & Models F & M
- Main mouse: Mouse Keys, Trackpoint, Trackball
- Favorite switch: IBM Buckling Springs+Beamspring, Alps Plate Spring
Not to contaminate the thread, but I want to say that the work you're doing here is highly appreciated.
- Scarpia
- Location: Sweden
- Main keyboard: F77 / Alps SKCM Brown TKL
- Main mouse: Logitech MX Anywhere 2
- Favorite switch: Capacitive BS, Alps SKCM Brown
- DT Pro Member: 0223
Fantastic work on both the text and the look&feel of this!!
I wonder if the final version can include an appendix of all the serial numbers and which round they were part of (and for the sake of future collectors’ provenance, with permission, the original owner’s country and name/handle)?
I wonder if the final version can include an appendix of all the serial numbers and which round they were part of (and for the sake of future collectors’ provenance, with permission, the original owner’s country and name/handle)?
- darkcruix
- Location: Germany
- Main keyboard: Brand New Model F F77 Keyboard
- Main mouse: Logitech MX Master
- Favorite switch: Ellipse version of Buckling Spring / BeamSpring
- DT Pro Member: 0209
Thanks so much guys ... there is still some work to be done, but keep the ideas coming. For the serial table, I think an online database would be better suited. I have an idea to make the bucklingspring.com web page more versatile in the future. Sharktastic has a great DB already btw.
Disassembling the legs of F122 and similar ... great idea!!!! I just added it to the list of tasks ....
Disassembling the legs of F122 and similar ... great idea!!!! I just added it to the list of tasks ....
- Bjerrk
- Location: Copenhagen, Denmark
- Main keyboard: Cherry G80-1800 & Models F & M
- Main mouse: Mouse Keys, Trackpoint, Trackball
- Favorite switch: IBM Buckling Springs+Beamspring, Alps Plate Spring
By the way, darkcruix, are you aware that the "Home" link in the menu on bucklingspring.com points to a rather odd URL? (sktperfectdemo . com / demos / laptoprepair )
A remnant of the site template, I assume?
A remnant of the site template, I assume?
- darkcruix
- Location: Germany
- Main keyboard: Brand New Model F F77 Keyboard
- Main mouse: Logitech MX Master
- Favorite switch: Ellipse version of Buckling Spring / BeamSpring
- DT Pro Member: 0209
HUGE thanks - you were absolutely right - still from the template and somehow it slipped throughBjerrk wrote: 13 Jan 2021, 07:38 By the way, darkcruix, are you aware that the "Home" link in the menu on bucklingspring.com points to a rather odd URL? (sktperfectdemo . com / demos / laptoprepair )
A remnant of the site template, I assume?
- Bjerrk
- Location: Copenhagen, Denmark
- Main keyboard: Cherry G80-1800 & Models F & M
- Main mouse: Mouse Keys, Trackpoint, Trackball
- Favorite switch: IBM Buckling Springs+Beamspring, Alps Plate Spring
No problem!darkcruix wrote: 13 Jan 2021, 14:27 HUGE thanks - you were absolutely right - still from the template and somehow it slipped throughShould be corrected now.
By the way, another little thing: If I go to http://bucklingspring.com (without the www.), I get an SSL certificate warning:

If I add the www, everything seems fine. Same on mobile (Firefox @ Android).
- darkcruix
- Location: Germany
- Main keyboard: Brand New Model F F77 Keyboard
- Main mouse: Logitech MX Master
- Favorite switch: Ellipse version of Buckling Spring / BeamSpring
- DT Pro Member: 0209
I have only the FQDN (www.bucklingspring.com) in the SSL certificate. So, this is expected, I am afraid.Bjerrk wrote: 13 Jan 2021, 20:25No problem!darkcruix wrote: 13 Jan 2021, 14:27 HUGE thanks - you were absolutely right - still from the template and somehow it slipped throughShould be corrected now.
By the way, another little thing: If I go to http://bucklingspring.com (without the www.), I get an SSL certificate warning:
If I add the www, everything seems fine. Same on mobile (Firefox @ Android).
- darkcruix
- Location: Germany
- Main keyboard: Brand New Model F F77 Keyboard
- Main mouse: Logitech MX Master
- Favorite switch: Ellipse version of Buckling Spring / BeamSpring
- DT Pro Member: 0209
Just uploaded an updated version (0.5.22) that contains the removal of the plastic inserts in a much simpler way than described before.
Additionally I have reports with issues accessing certain pages. I have set the security settings too tight and there are many false-postitives. I am working on getting this resolved and will paste an update here ... sorry for the issues
Additionally I have reports with issues accessing certain pages. I have set the security settings too tight and there are many false-postitives. I am working on getting this resolved and will paste an update here ... sorry for the issues
- darkcruix
- Location: Germany
- Main keyboard: Brand New Model F F77 Keyboard
- Main mouse: Logitech MX Master
- Favorite switch: Ellipse version of Buckling Spring / BeamSpring
- DT Pro Member: 0209
Minor update today (version 0.5.23). The update focusses on the most common USB controller variants with new renderings out of KiCAD.... 267 pages
- darkcruix
- Location: Germany
- Main keyboard: Brand New Model F F77 Keyboard
- Main mouse: Logitech MX Master
- Favorite switch: Ellipse version of Buckling Spring / BeamSpring
- DT Pro Member: 0209
During this week, we could pin down the issue with accessing www.bucklingspring.com. The theory is that the previously frequently shown errors are gone.
Block post at: https://www.bucklingspring.com/2021/01/ ... first-aid/
With that, I can increase the available documents, files and data.
Block post at: https://www.bucklingspring.com/2021/01/ ... first-aid/
With that, I can increase the available documents, files and data.
- darkcruix
- Location: Germany
- Main keyboard: Brand New Model F F77 Keyboard
- Main mouse: Logitech MX Master
- Favorite switch: Ellipse version of Buckling Spring / BeamSpring
- DT Pro Member: 0209
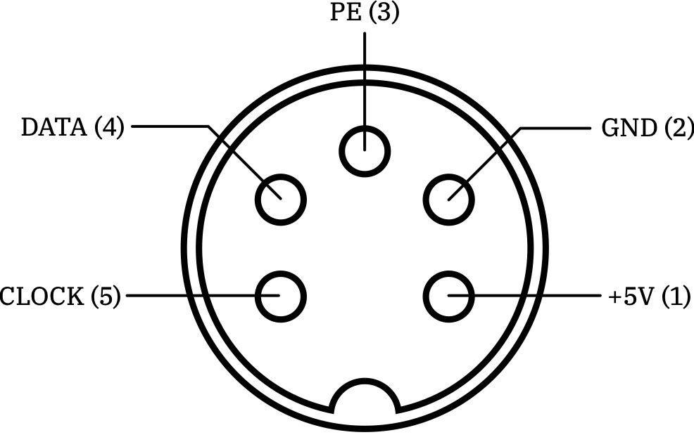
I am building a quick overview about the connectors (male) for the various Model F Models. I found some different answers online, so I wanted to cross check, if I am correct with the below graphical representation:
XT/AT jack:
F122 jack:
4704 jack:
Portable PC jack:
XT/AT jack:
Spoiler:
Spoiler:
Spoiler:
Spoiler:
- darkcruix
- Location: Germany
- Main keyboard: Brand New Model F F77 Keyboard
- Main mouse: Logitech MX Master
- Favorite switch: Ellipse version of Buckling Spring / BeamSpring
- DT Pro Member: 0209
As part of the Model F Technical Manual Project, I am working on a table that contains the connectors, protocols and language sets of the variants. I have collected most of the data, but I can't figure out the details for some models, like our beloved 4704 Models. What I have so far is shown below, I would like to understand the protocol of the 4704 with its original controller. I hope someone can help.
- shampoo
- Main keyboard: F77 Model F Keyboard
- Main mouse: Logitech MX Master 3
- Favorite switch: Buckling Spring
Oh, and there is one thing that people may want to know, but currently, there is no way to install the qmk firmware on a M1 (ARM) Mac. The only known way was using brew and qmk/qmk/qmk is not currently installing on the M1 using brew. The maintainers are aware..
- darkcruix
- Location: Germany
- Main keyboard: Brand New Model F F77 Keyboard
- Main mouse: Logitech MX Master
- Favorite switch: Ellipse version of Buckling Spring / BeamSpring
- DT Pro Member: 0209
I have incorporated the info into the Appendix as I feel it is something that people would search and like to have in a single location. The excerpt of the Appendix has been attached here. As always, the Technical Reference is worked on constantly and can be downloaded from: https://www.bucklingspring.comdarkcruix wrote: 06 Feb 2021, 23:15 As part of the Model F Technical Manual Project, I am working on a table that contains the connectors, protocols and language sets of the variants. I have collected most of the data, but I can't figure out the details for some models, like our beloved 4704 Models. What I have so far is shown below, I would like to understand the protocol of the 4704 with its original controller. I hope someone can help.
Appendix.png
ModelFManual.pdf
- darkcruix
- Location: Germany
- Main keyboard: Brand New Model F F77 Keyboard
- Main mouse: Logitech MX Master
- Favorite switch: Ellipse version of Buckling Spring / BeamSpring
- DT Pro Member: 0209
I checked it against my M1 Mac mini, as I was flashing my keyboard using the QMK Toolbox in Rosetta without issues. But you're right, a native CLI qmk isn't available. Thanks for letting me know.shampoo wrote: 07 Feb 2021, 01:55 Oh, and there is one thing that people may want to know, but currently, there is no way to install the qmk firmware on a M1 (ARM) Mac. The only known way was using brew and qmk/qmk/qmk is not currently installing on the M1 using brew. The maintainers are aware..
- shampoo
- Main keyboard: F77 Model F Keyboard
- Main mouse: Logitech MX Master 3
- Favorite switch: Buckling Spring
Hi
They are working on getting qmk installed for M1 natively, but honestly, I think it's going to take a while. So, best to get it installed using Rosetta. Here is how I did it:
First, install brew but as X86:
arch -x86_64 /bin/bash -c "$(curl -fsSL https://raw.githubusercontent.com/Homeb ... install.sh)"
Then install qmk
arch -x86_64 brew install qmk/qmk/qmk
Then for qmk setup:
arch -x86_64 qmk setup -H /where/you/want
They are working on getting qmk installed for M1 natively, but honestly, I think it's going to take a while. So, best to get it installed using Rosetta. Here is how I did it:
First, install brew but as X86:
arch -x86_64 /bin/bash -c "$(curl -fsSL https://raw.githubusercontent.com/Homeb ... install.sh)"
Then install qmk
arch -x86_64 brew install qmk/qmk/qmk
Then for qmk setup:
arch -x86_64 qmk setup -H /where/you/want
- darkcruix
- Location: Germany
- Main keyboard: Brand New Model F F77 Keyboard
- Main mouse: Logitech MX Master
- Favorite switch: Ellipse version of Buckling Spring / BeamSpring
- DT Pro Member: 0209
I just uploaded the latest version (0.5.24) of the Technical Manual to:
https://www.bucklingspring.com.
I incorporated corrections on many pages and getting close to finalize Section 1 - 4. There are a few incomplete items that I can't fill, as I am waiting for the hardware to arrive, but in general those sections are ok.
Since a few weeks I wanted to start the Firmware Section, but to make it more consistent to write about QMK, there will be some changes and updates made prior I am going to make it available.
Thanks everyone for all the contributions so far...
https://www.bucklingspring.com.
I incorporated corrections on many pages and getting close to finalize Section 1 - 4. There are a few incomplete items that I can't fill, as I am waiting for the hardware to arrive, but in general those sections are ok.
Since a few weeks I wanted to start the Firmware Section, but to make it more consistent to write about QMK, there will be some changes and updates made prior I am going to make it available.
Thanks everyone for all the contributions so far...