Oak Industries "Buckled Spring Switch Mechanism" (?)

User avatar
OldIsNew

30 Sep 2018, 23:00

I recently was working on Honeywell 5921 terminal keyboard (workshop-f7/honeywell-5921-clean-up-and ... 19838.html ) and found rather unusual switches:
Oak Switch_cropped.jpg
Oak Switch_cropped.jpg (272.59 KiB) Viewed 3557 times
Oak_Switch_side_2.jpg
Oak_Switch_side_2.jpg (541.99 KiB) Viewed 3602 times
Oak_Industries-Switches_2a.jpg
Oak_Industries-Switches_2a.jpg (254.75 KiB) Viewed 3576 times

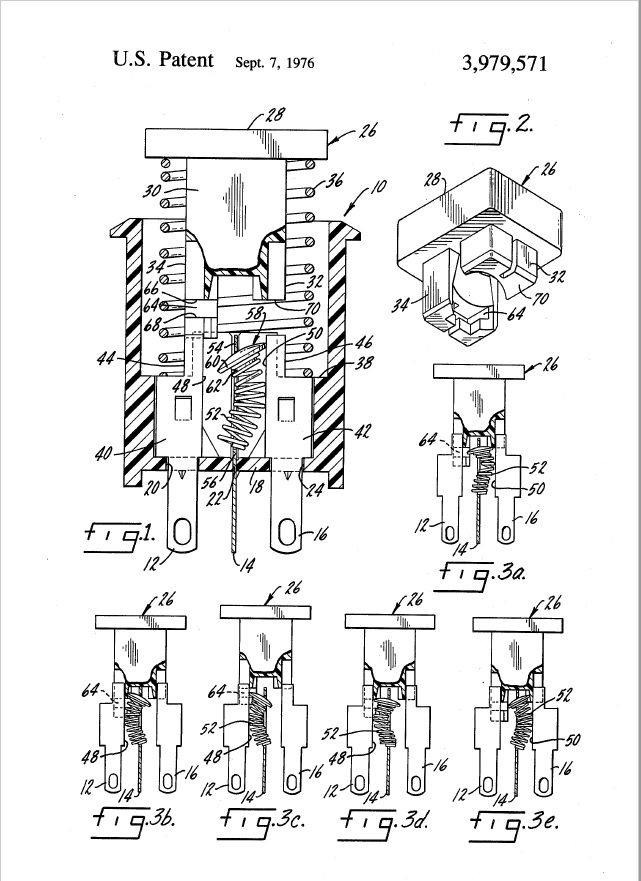
I've been searching for more info on them. The closest I've found so far is from an Oak Industries key switch patent from 1976 (filed 1974):
Oak_Industries_Patent3979571_1.jpg
Oak_Industries_Patent3979571_1.jpg (117.75 KiB) Viewed 3602 times
Oak_Industries_Patent3979571_2.jpg
Oak_Industries_Patent3979571_2.jpg (159.69 KiB) Viewed 3602 times
The full patent info is here:

http://www.freepatentsonline.com/3979571.pdf


There is one latching switch on the board (LOCK), the rest are non-latching. My best guess so far is that the switches are a variation on the switch in this patent - does anyone know more about these switches or have any other thoughts?

User avatar
olePigeon

25 Jul 2019, 02:34

I just found two boxes of these Oak switches. They're slightly different from both yours and the one in the patent you listed.

The text on the switch says: US Patent 3,708,635.
oak.JPG
oak.JPG (654.02 KiB) Viewed 3258 times

User avatar
nsmechkb

25 Jul 2019, 03:09

This is really interesting! How do the switches feel?

User avatar
olePigeon

25 Jul 2019, 03:22

They're linear switches. Light to the touch at first, then it gets stiffer the further you press the key. I have no idea when it actuates because I don't have anything that uses them. Only other common switches I have at the moment are Cherry MX Black and MX Grey that i just picked up today at the surplus store.

They're stiffer than the MX Black, but not as stiff as the MX Grey. Just started getting into this hobby, so I don't have any more useful comparisons. Sorry.

Post Reply

Return to “Keyboards”