IBM 4978 "Beamship" keyboard review (Beamsprings)
- Chyros
- Location: The Netherlands
- Main keyboard: whatever I'm reviewing next :p
- Main mouse: a cheap Logitech
- Favorite switch: Alps SKCM Blue
- DT Pro Member: -
Today I show you one of the coolest keyboards in my collection IMO; the IBM Beamship
. Hope you enjoy the video, this is a pretty special one!
- dcopellino
- Location: Italia - Napoli
- Main keyboard: IBM 4704 F400 brushed chrome
- Main mouse: Logitech laser wired
- Favorite switch: Buckling spring
- DT Pro Member: 0229
- Contact:
Wow Thomas, with this review you are adding another piece to archeological industrial history of times gone. Your sources reconstruction appears quite well funded and from the old articles being shown in the videoclip It seems the current nomenclature with alphabet letters was already in use at the time of those magazines as good reference for identifying the different ibm keyboard generations. So, what about series "E", quoted by the article?
Perhaps, it distinguishes the prototypes that gave origin to the 4707 "bank" keyboard series including kishaver, F77 and the 107 keys (or cloned pingmasters)? Mine is only a very shallow deduction that lets you the last word about.
Perhaps, it distinguishes the prototypes that gave origin to the 4707 "bank" keyboard series including kishaver, F77 and the 107 keys (or cloned pingmasters)? Mine is only a very shallow deduction that lets you the last word about.
- ddrfraser1
- Location: United States
- Main keyboard: Changes weekly
- Main mouse: MX MASTER
- Favorite switch: Lubed 55g BKE Redux Domes
- Contact:
I wonder if models C through E were botched attempts at cheaper variants til they landed on the buckling spring. Maybe foam an foil? poor performing leaf spring? Who knows what else. Perhaps the switches from the PC Jr were derived from one of these failed attempts.
- Redmaus
- Gotta start somewhere
- Location: Near Dallas, Texas
- Main keyboard: Unsaver | 3276 | Kingsaver
- Main mouse: Kensington Slimblade
- Favorite switch: Capacitative Buckling Spring
- DT Pro Member: -
- Contact:
Just an unreal board.... I have been eyeing the one in JP!'s collection since I first saw it.
A beamspring battleship, so cool! You should list another video after you convert it and possibly add a solenoid driver. One question I have to ask, where did you score this?
A beamspring battleship, so cool! You should list another video after you convert it and possibly add a solenoid driver. One question I have to ask, where did you score this?
- Chyros
- Location: The Netherlands
- Main keyboard: whatever I'm reviewing next :p
- Main mouse: a cheap Logitech
- Favorite switch: Alps SKCM Blue
- DT Pro Member: -
Got this one from eBayRedmaus wrote: 01 Aug 2020, 21:51 Just an unreal board.... I have been eyeing the one in JP!'s collection since I first saw it.
A beamspring battleship, so cool! You should list another video after you convert it and possibly add a solenoid driver. One question I have to ask, where did you score this?
I'm almost certain that C and E were intermediate or just other alternatives, yes. Whatever they are, they're old; the CBS patent dates from 1977!ddrfraser1 wrote: 01 Aug 2020, 18:48 I wonder if models C through E were botched attempts at cheaper variants til they landed on the buckling spring. Maybe foam an foil? poor performing leaf spring? Who knows what else. Perhaps the switches from the PC Jr were derived from one of these failed attempts.
A lot of this history dates from some right sterling work done here at DT. That internal IBM article and the manual about Type A and B keyboards were especially revelatorydcopellino wrote: 01 Aug 2020, 18:07 Wow Thomas, with this review you are adding another piece to archeological industrial history of times gone. Your sources reconstruction appears quite well funded and from the old articles being shown in the videoclip It seems the current nomenclature with alphabet letters was already in use at the time of those magazines as good reference for identifying the different ibm keyboard generations. So, what about series "E", quoted by the article?
Perhaps, it distinguishes the prototypes that gave origin to the 4707 "bank" keyboard series including kishaver, F77 and the 107 keys (or cloned pingmasters)? Mine is only a very shallow deduction that lets you the last word about.
-
kmnov2017
- Location: Germany
- Main keyboard: Model F77
- Main mouse: Logitech MX Master 3S
- Favorite switch: Alpaca V2
I saw this in May, it's probably the same one https://www.ebay.com/itm/IBM-TERMINAL-K ... cvip-panel
-
kmnov2017
- Location: Germany
- Main keyboard: Model F77
- Main mouse: Logitech MX Master 3S
- Favorite switch: Alpaca V2
The universal through hole converter with QMK will work on this beamspring.....Chyros wrote: 02 Aug 2020, 00:00 .... A converter is already underway, and I hope to add a solenoid to it too, yes...
- PlacaFromHell
- Location: Argentina
- Main keyboard: IBM 3101
- Main mouse: Optical piece of shit
- Favorite switch: Beamspring
- DT Pro Member: -
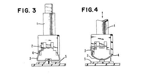
Behold this thing patented a year after the beamspring, by the same dude who designed the beamspring switch. Maybe this one is our model C?ddrfraser1 wrote: 01 Aug 2020, 18:48 I wonder if models C through E were botched attempts at cheaper variants til they landed on the buckling spring. Maybe foam an foil? poor performing leaf spring? Who knows what else. Perhaps the switches from the PC Jr were derived from one of these failed attempts.
Spoiler:
https://patents.google.com/patent/EP0075088B1/en
https://patents.google.com/patent/GB136 ... Ibm&page=4
- depletedvespene
- Location: Chile
- Main keyboard: IBM Model F122
- Main mouse: Logitech G700s
- Favorite switch: buckling spring
- DT Pro Member: 0224
- Contact:
so... many... alphas...
- ddrfraser1
- Location: United States
- Main keyboard: Changes weekly
- Main mouse: MX MASTER
- Favorite switch: Lubed 55g BKE Redux Domes
- Contact:
Interesting. Looks like an early attempt at a plate spring. I wonder if plate spring corresponds to a letterPlacaFromHell wrote: 02 Aug 2020, 01:04Behold this thing patented a year after the beamspring, by the same dude who designed the beamspring switch. Maybe this one is our model C?ddrfraser1 wrote: 01 Aug 2020, 18:48 I wonder if models C through E were botched attempts at cheaper variants til they landed on the buckling spring. Maybe foam an foil? poor performing leaf spring? Who knows what else. Perhaps the switches from the PC Jr were derived from one of these failed attempts.
I also found two other switches by Richard H. Harris, but one has just a description of how actually works.Spoiler:
https://patents.google.com/patent/EP0075088B1/en
https://patents.google.com/patent/GB136 ... Ibm&page=4
- Chyros
- Location: The Netherlands
- Main keyboard: whatever I'm reviewing next :p
- Main mouse: a cheap Logitech
- Favorite switch: Alps SKCM Blue
- DT Pro Member: -
Very interesting! Yes, that's definitely a possibility I thinkPlacaFromHell wrote: 02 Aug 2020, 01:04Behold this thing patented a year after the beamspring, by the same dude who designed the beamspring switch. Maybe this one is our model C?ddrfraser1 wrote: 01 Aug 2020, 18:48 I wonder if models C through E were botched attempts at cheaper variants til they landed on the buckling spring. Maybe foam an foil? poor performing leaf spring? Who knows what else. Perhaps the switches from the PC Jr were derived from one of these failed attempts.
I also found two other switches by Richard H. Harris, but one has just a description of how actually works.Spoiler:
https://patents.google.com/patent/EP0075088B1/en
https://patents.google.com/patent/GB136 ... Ibm&page=4
- shine
- Location: EU - Spain
- Main keyboard: F122
- Main mouse: Deathadder Elite
- Favorite switch: Beamspring
- Contact:
beamship is the absolute dream for a beamspring collector, at least mine 
so envy! enjoy it!
so envy! enjoy it!
- hellothere
- Location: Mesa, AZ USA
- Main keyboard: Lots
- Main mouse: CST2545W-RC
- Favorite switch: TopreAlpsHallEffectTopreAlpsHallEffectTopreAlps
As if I had a spare $1500 to spend on a keyboard
.
- Invisius
- Location: USA
- Main keyboard: IBM 3278
- Main mouse: Microsoft Trackball Explorer
- Favorite switch: Beamspring/Fujitsu Magnetic Reed
- DT Pro Member: 0249
Talk about a pristine example, glad it ended up in good hands. Was worried for a sec the desk was about to collapse after that drop test
I look forward to seeing it converted, and wonder if you'll be able to get the macro keys working.
For the letter variants, I think there's a separate thing going on than the typical "model F/M" thing we're used to. IBM catalogs of the 70s-80s frequently used "Type A/B/C" for base variants of accessory options, and "1/2/3/4" for smaller variants - see https://www.ardent-tool.com/ibm5550/option_1-e.html for a quick reference
IBM used the Model A-D designations for typewriters launched between 1948 and 1967, coincidentally around the time the Beamspring switch was released. The Selectric was developed and released years before the model D, so It's not clear whether they switched to Model E internally to reference the Beamspring, or planned to use one of those prototypes PlacaFromHell linked, but ended up skipping a whole generation. Since they did just this with the jump from Model F->M, it's not unreasonable.
For the letter variants, I think there's a separate thing going on than the typical "model F/M" thing we're used to. IBM catalogs of the 70s-80s frequently used "Type A/B/C" for base variants of accessory options, and "1/2/3/4" for smaller variants - see https://www.ardent-tool.com/ibm5550/option_1-e.html for a quick reference
IBM used the Model A-D designations for typewriters launched between 1948 and 1967, coincidentally around the time the Beamspring switch was released. The Selectric was developed and released years before the model D, so It's not clear whether they switched to Model E internally to reference the Beamspring, or planned to use one of those prototypes PlacaFromHell linked, but ended up skipping a whole generation. Since they did just this with the jump from Model F->M, it's not unreasonable.
- sharktastica
- Location: Wales
- Main keyboard: '86 IBM F Bigfoot + '96 IBM M50
- Main mouse: Logitech MX Revolution
- Favorite switch: IBM buckling spring & buckling sleeve
- Contact:
IBM product support manuals also used a similar nomenclature when it was appropriate. For example, for the 6580 Displaywriter, the designations "Type A" and "Type B" were used to refer to beam spring and Model F variants of the system's keyboards respectively - as per Chapter 5, pages 63 and 64 of the bitsavers' PDF scan of the IBM Displaywriter System Product Support Manual (Feburary 1983 revision); figures 5-1 and 5-2.Invisius wrote: 04 Aug 2020, 06:03For the letter variants, I think there's a separate thing going on than the typical "model F/M" thing we're used to. IBM catalogs of the 70s-80s frequently used "Type A/B/C" for base variants of accessory options, and "1/2/3/4" for smaller variants - see https://www.ardent-tool.com/ibm5550/option_1-e.html for a quick reference
- depletedvespene
- Location: Chile
- Main keyboard: IBM Model F122
- Main mouse: Logitech G700s
- Favorite switch: buckling spring
- DT Pro Member: 0224
- Contact:
I'd love to see a picture of the PCB as well, to think about how the bottom row could actually made to be, if chopping off the relevant bits of the top case weren't a sacrilegious proposition.Invisius wrote: 04 Aug 2020, 06:03 Talk about a pristine example, glad it ended up in good hands. Was worried for a sec the desk was about to collapse after that drop testI look forward to seeing it converted, and wonder if you'll be able to get the macro keys working.
- Noobmaen
- Location: Bonn, Germany
- Main keyboard: FC660M MX Brown, HHKB, IBM6580
- Main mouse: Logitech G502
- Favorite switch: Beamspring, Vintage MX brown, Cap. BS
- DT Pro Member: -
It's as flexible as it gets, by shortening the spacebar one can get a few more modifiers without modifying the top case, but it would be cramped.

- depletedvespene
- Location: Chile
- Main keyboard: IBM Model F122
- Main mouse: Logitech G700s
- Favorite switch: buckling spring
- DT Pro Member: 0224
- Contact:
GFL, that's amazing. One could even do a split space bar on that PCB.
Excuse me while I hop on to my time travel machine...
Excuse me while I hop on to my time travel machine...
- SneakyRobb
- THINK
- Location: Canada
- Main keyboard: KB-5161A, F122, Dc2014, Typeheaven, Beamspring FXT
- Main mouse: MX518 Legendary
- DT Pro Member: 0242
Great video and very informative as always. Well done!
NGL pretty jelly of that board.
https://worldwide.espacenet.com/patent/ ... GB1363777A
In this case that second one is the beamspring switch. You can even see how the patent attempts to cover stuff like variations on the theme. Upside-down beams for instance
For the linear beamspring switch, this one https://worldwide.espacenet.com/patent/ ... US3693059A
You can read the description where Richard says:
then he says
Then
So if we are reading this right, this patent is for a near-linear capacitive beamspring where Richard basically removes almost all the parts from the beamspring switch and linearizes it. Wtf right?
NGL pretty jelly of that board.
Hi these great links and cool stuff. For the one with only a description you can click the links for "External linksEspacenet" in the blue window thing. This will often open very useful information. A lot of old patent documents are a mess of work to get through and google only scratches the surface.PlacaFromHell wrote: 02 Aug 2020, 01:04Behold this thing patented a year after the beamspring, by the same dude who designed the beamspring switch. Maybe this one is our model C?ddrfraser1 wrote: 01 Aug 2020, 18:48 I wonder if models C through E were botched attempts at cheaper variants til they landed on the buckling spring. Maybe foam an foil? poor performing leaf spring? Who knows what else. Perhaps the switches from the PC Jr were derived from one of these failed attempts.
I also found two other switches by Richard H. Harris, but one has just a description of how actually works.Spoiler:
https://patents.google.com/patent/EP0075088B1/en
https://patents.google.com/patent/GB136 ... Ibm&page=4
https://worldwide.espacenet.com/patent/ ... GB1363777A
In this case that second one is the beamspring switch. You can even see how the patent attempts to cover stuff like variations on the theme. Upside-down beams for instance
For the linear beamspring switch, this one https://worldwide.espacenet.com/patent/ ... US3693059A
You can read the description where Richard says:
Spoiler:
Spoiler:
Spoiler:
Spoiler:
So if we are reading this right, this patent is for a near-linear capacitive beamspring where Richard basically removes almost all the parts from the beamspring switch and linearizes it. Wtf right?
- darkcruix
- Location: Germany
- Main keyboard: Brand New Model F F77 Keyboard
- Main mouse: Logitech MX Master
- Favorite switch: Ellipse version of Buckling Spring / BeamSpring
- DT Pro Member: 0209
It would be possible to even get a standard NAV-Cluster created with some re-arrangement of the switches... Looking so forward to see a video about the working condition of it and how it is programmed in the end. Insane!
