Foam plug mod for Buckling Springs

User avatar
inmbolmie

04 Feb 2020, 00:22

The story is like this, I have recently restored a rusty IBM F122 keyboard with the idea of using it at work. I already had a M122 at the office and its level of noise was just tolerable, so why not going for the real deal and upgrade the battlecruiser to a battleship?

When I had it already fully restored, I found it to be much more pingy than anticipated, so I desperately needed to reduce that level of noise to be able to use it at the office as intended (without being killed by my coworkers).

I tried the usual trick, the dental floss mod. It worked, but I always end discarding it for a couple of reasons:
  • It suppresses the pingy noise but it somehow it also modifies slightly the tactility. It is specially evident in the upstroke movement that becomes scratchy. Its not the end of the world but I don't want to trade smoothness for silence.
  • I am worried that the floss will disintegrate over time because it is subjected to mechanical stress when the spring buckles. I expect a model M/F not to require any maintenance once it is restored for many many years.
So I remember reading some posts that mentioned a patent AT&T had about some kind of rubber silencer for buckling spring switches. More information here wiki/Buckling_spring#AT.26T. I've also seen this old post in Geekhack https://geekhack.org/index.php?topic=7405.0 but It seems no one tried to elaborate the idea further (please, correct me if I'm wrong). So I thought it would be nice to experiment and share some results here.

To test this mod you need the following tools:
  • 3mm thick foam. I used EVA foam but I think anything with the right thickness will do the job.
  • 3mm diameter leather punch
  • Keycap puller
  • Tweezers
  • Needle
  • Some tools needed in case you can to remove and reattach springs, like chopsticks and ballpoint pen assembly
tools.jpg
tools.jpg (400.96 KiB) Viewed 4733 times

For convenience I'll show this using a Model F switch tester by orihalcon, but will work the same for a real keyboard.

tester.jpg
tester.jpg (285.01 KiB) Viewed 4733 times

First, punch some foam plugs with the leather punch

punch.jpg
punch.jpg (735.74 KiB) Viewed 4733 times
plug.jpg
plug.jpg (754.28 KiB) Viewed 4733 times

Remove the key

pull.jpg
pull.jpg (432.63 KiB) Viewed 4733 times

Compress slightly the foam plug rolling it between your fingers

compress.jpg
compress.jpg (249.8 KiB) Viewed 4733 times

Then take the plug with the tweezers to insert it into the spring. Just insert, don't push it yet.

insert.jpg
insert.jpg (267.13 KiB) Viewed 4733 times


Change the tweezers to your left hand and using the right hand hold the spring with your index finger nail like this.

hold.jpg
hold.jpg (305.6 KiB) Viewed 4733 times

Now while still holding the spring push VERY CAREFULLY the plug into the spring, so that you leave its top approx. 1mm inside the spring. This is the most delicate part, if it's not deep enough it will affect the key action over the spring. If you press too much it will interfere with the buckling action, and this is worse because if it's too deep it is impossible to remove the plug without removing the spring. If it's not so deep you can remove the plug easily pulling it off with a needle.

push.jpg
push.jpg (284.75 KiB) Viewed 4733 times
ready.jpg
ready.jpg (290.39 KiB) Viewed 4733 times

So this mod is only recommended if you are comfortable removing and reattaching springs, because it's the only way to remove a plug inserted too deep. In case you need, search for the "Sandy's chopstick o' death method". Of course a floss mod is more convenient in the sense that it is easier to remove, but I think the foam plug is more durable and gives a more uniform keyfeel.

Example reattaching the spring inside the tester

reattach.jpg
reattach.jpg (39.99 KiB) Viewed 4733 times

And that's it, just install your key again and test that it still works fine.

With this mod I cannot detect any difference in tactility with my F122, and the metallic ping is completely gone. Here are a couple of sound clips with and without mod for comparison. Sorry for the poor quality as I have only very basic sound recording hardware.

audio_clips.zip
(179.34 KiB) Downloaded 247 times

I've also tried this mod with other keyboards:
  • A model F XT, this keyboard is in great condition and it's not pingy at all, so I thing it makes no difference to use the mod with it
  • Some different model M's, but I don't quite like it, I can't say why but I don't feel any of my M's need to be less pingy.

So at this moment I can only recommend this for a model F122 or anything else that's really pingy. But that's in my case, maybe this is useful for you in other situations, or maybe other foam materials will do a better job for a model M.

User avatar
fohat
Elder Messenger

04 Feb 2020, 16:02

That is interesting. I may try it on my next F rebuild, clearly it will be much easier with all the parts loose and dis-attached.

User avatar
SneakyRobb
THINK

04 Feb 2020, 16:16

fohat wrote: 04 Feb 2020, 16:02 That is interesting. I may try it on my next F rebuild, clearly it will be much easier with all the parts loose and dis-attached.
Agree, this would be quite tedious and Id personally be worried about spring damage doing this while its all together.

--

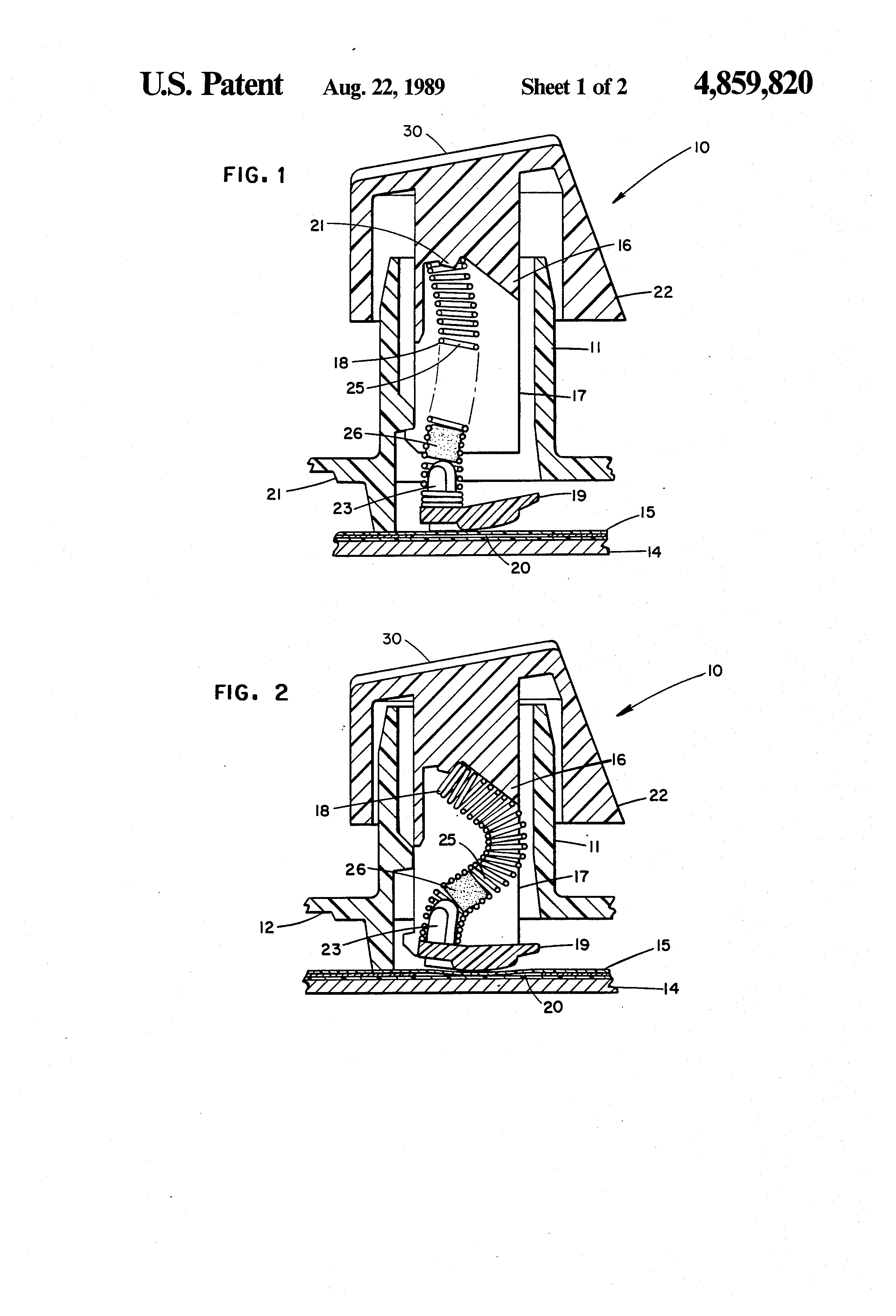
This is an interesting and novel approach. I wonder if you have tried this with the foam plug at the bottom of the spring? I say this because the patent has the plug located there.

If I recall correctly, a lot of the ringing/buzz noise is from the spring bottom sort of vibrating around the post of the flipper. As well now that I think about it, the top would vibrate as well.

I wonder if you could test it with a small plug at both the top and the bottom?

Regardless, good work and very clever!


https://patents.google.com/patent/US4859820

US4859820-drawings-page-2.png
US4859820-drawings-page-2.png (63.41 KiB) Viewed 4666 times
US4859820-drawings-page-3.png
US4859820-drawings-page-3.png (44.94 KiB) Viewed 4666 times

User avatar
inmbolmie

04 Feb 2020, 16:59

SneakyRobb wrote: 04 Feb 2020, 16:16

This is an interesting and novel approach. I wonder if you have tried this with the foam plug at the bottom of the spring? I say this because the patent has the plug located there.


No, I didn't try that... but that was because I made all the testing after the keyboard was fully assembled and the last thing I wanted to do was disassemble and reassemble it again. The first time I tried it was a total failure and I ruined the barrel plate paint job. Then I had to wait for two weeks to get a new paint job done and this time let it dry properly...

I will try tonight your proposals with the switch tester and compare the results.

But the clear benefit of the "top loading" approach (at least for me) is that you can do it keeping the keyboard assembled, or try modding only some keys to test if you like it or not.

Findecanor

04 Feb 2020, 17:15

It looks a bit more involved than the floss mod, but I'm afraid that the floss will deteriorate into dust inside the switch and this won't.

User avatar
inmbolmie

04 Feb 2020, 23:20

inmbolmie wrote: 04 Feb 2020, 16:59
SneakyRobb wrote: 04 Feb 2020, 16:16

This is an interesting and novel approach. I wonder if you have tried this with the foam plug at the bottom of the spring? I say this because the patent has the plug located there.


I will try tonight your proposals with the switch tester and compare the results.

I've tried using the switch tester the effect of "foam on bottom" and "foam on both sides".

Some updated audio samples (sorry again for the poor quality):

audio samples 2.zip
(352.9 KiB) Downloaded 203 times
  • Foam on bottom is like halfway between no foam and foam on top: The ping is still there but with less reverberation, definitely less metallic. But I have to say that it's difficult to notice the difference in the audio sample. Tactility is good
  • Foam on both sides feels and sounds for me exactly like foam on top
I still prefer foam on top, but it can be a matter of personal preference

User avatar
SneakyRobb
THINK

05 Feb 2020, 04:11

inmbolmie wrote: 04 Feb 2020, 23:20 I've tried using the switch tester the effect of "foam on bottom" and "foam on both sides".

Some updated audio samples (sorry again for the poor quality):


audio samples 2.zip

  • Foam on bottom is like halfway between no foam and foam on top: The ping is still there but with less reverberation, definitely less metallic. But I have to say that it's difficult to notice the difference in the audio sample. Tactility is good
  • Foam on both sides feels and sounds for me exactly like foam on top
I still prefer foam on top, but it can be a matter of personal preference
Hey thats alright. It was designed for the AT&T keyboard, as well as a smaller model M style flipper after all. So it makes sense that it could sound different for the model F. Regardless I will try this when I rebuild my F AT eventually.

User avatar
0100010

08 Feb 2020, 05:37

Probably easier to use something like silicone cord of the proper diameter, cut to length.

Image

User avatar
inmbolmie

08 Feb 2020, 11:34

0100010 wrote: 08 Feb 2020, 05:37 Probably easier to use something like silicone cord of the proper diameter, cut to length.
I have a feeling that silicone rubber will be too heavy. The foam I'm using has a density of about 0.3-0.5 g/cm3. For silicone rubber it will be around 1.25 g/cm3, so between 3-4 times heavier. Also silicone will be far less compressible, so you will need just the right diameter. I think 2.5mm will be the best due to the low compressibility (I've meassured the spring head to have approx. a 2.15mm internal diameter). Too thick and it won't fit inside the spring, too thin and will move freely inside the spring.

With any kind of foam will be easier because you can cut it with a higher diameter, compress it to fit inside the spring and its inherent expansion will prevent it from moving inside.

Post Reply

Return to “Workshop”